Hersteller
Bestellhotline
Kategorien
Schnellkauf
Bitte geben Sie die Artikelnummer aus unserem Katalog ein.
Willkommen zurück!
Produktbeschreibung
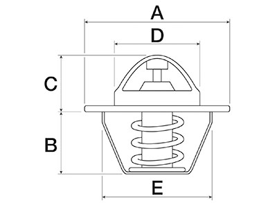
Thermostat
mit Entlüftungsöffnung
Ø (mm) | Höhe (mm) | °C | A (mm) | B (mm) | C (mm) | D (mm) | E (mm) |
54.06 | 38.46 | 82 | 54.06 | 19.60 | 18.93 | 31.00 | 39.95 |
passend für:
Massey Ferguson
Traktor
Serie: 100
Serie: 100
122, 130, 133, 134C, 134V, 135, 140, 145, 145S, 145V, 148, 150, 152, 152F, 152S, 152V, 154, 154C, 154F, 154S, 154V,
Serie: 1000
1004, 1014, 1080 (France, USA ), 1085 (USA ), 1100, 1104, 1105, 1130, 1135, 1200,
Serie: 200
230, 233, 234C, 234CF, 234S, 235, 240, 244CF, 245, 250 (France / UK ), 253 (Italy), 253 (UK), 254, 254C, 254CF, 254S, 255, 263T (Italy), 264T, 264TCF, 264TS, 298 (UK France ),
Serie: 200 (Brasil - South Africa)
250X, 250X Advanced, 265, 265 Advanced, 275, 275 Advanced, 283, 283 Advanced, 290, 290 Advanced,
Serie: 2200
2205,
Serie: 300
333, 334V, 340, 342, 350, 352, 353, 353LX, 353S, 354AP, 354AQ, 354F, 354FP, 354FP(X), 354FQ, 354GE, 354GE(X), 354S, 354SP, 354SP(X), 354SQ, 354V, 354VQ, 355, 356CF, 360 (CN31187 ), 362, 362N, 372N, 382N,
Serie: 3200-3300
3210FP(X), 3210GE(X), 3210SP(X),
Serie: 35
25, 30, 35,
Serie: 400 (Brasil - South Africa)
415, 425, 435, 440, 445,
Serie: 500
550, 592, 595,
Serie: 600
675 (UK France ), 690 (UK France ), 698,
Serie: 700-800
825, 835,
Serie: TE20
TEF20,
Industrieschlepper
Serie:
Serie:
20 (82¦ / U792123H-> ), 203, 205, 20B, 20C, 20D, 20E, 20F, 2135, 2203, 30B, 30E, 30H, 40, 40E, 50H-T, 50HX-T,
Mähdrescher
Serie:
Serie:
10 Plot, 16, 16 Plot, 187, 330, 430, 788, 8 Plot, 99,
OEM Referenz:
1446165M91, 2485635, 2485645, 2485648, 2485653, 2485666, 32550, 828139M1, PF52842,
Kundenrezensionen:
Schreiben Sie die erste Kundenrezension!



